腾讯申请“稳住我们能赢”商标!网友:现在说句话都成“商标”了?
5年前
收藏 0
0
【摘要】:积极注册商标是好事还是坏事?
最近,商标案件真是见了不少
有告赢的 “凤凰卫视”告“凤凰通讯社”
获赔500万! 
有被驳回的
“海底捞”告“河底捞”

还有“神”操作的
拼多多将“拼夕夕”申请注册商标

而最近
又有让人“迷惑”的商标注册案件
#腾讯申请稳住我们能赢商标#

由天眼查官网的查询信息来看
所申请商标的国际分类为 41-教育娱乐

这...看到这个消息
有网友跟大大君一样的反应:
这年头怕是说句话都能成为商标了?

大大君顺势扒了扒
这还没完!!!
还有 王者荣耀 游戏中的 经典“金句”
“我拿BUFF”、“逆风不倒”、“进攻暗影主宰”
“顺风不浪”、“保护我方输出”、“描边战神”等
也被腾讯进行商标申请中

如果商标注册成功的话
那是不是我们在打王者时
是不是分分钟就会说出一句“商标”来
对于腾讯这波神操作
无疑引起了网友们的热议
有人对此举动,持反对态度
认为过于滥注册了


还有人纷纷提出了其他的商标申请建议

甚至有脑洞大开的“鬼才”
为杜蕾斯写文案...
(杜蕾斯:明天来上班)

也有人cue到了直播网红李佳琦

出自他口中的“卖货名言”
可以说是非常洗脑了

而就在今年四月份
李佳琦的公司还真去申请了
“oh my god,买它买它!”
声音商标注册

via:企查查官网截图
虽然商标目前还在申请中
但可以看到品牌方们
对各个领域的商标注册非常注重
比如大大君前面提到的
“海底捞”告“河底捞”被驳回事件

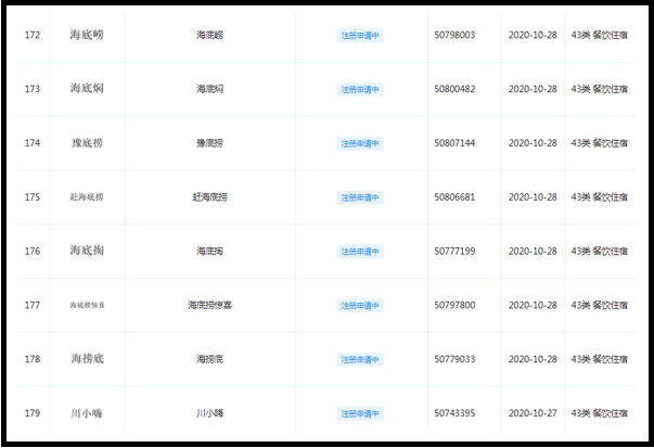
一气之下,海底捞学“精”了
一下把“海底崂”、“海底焖”、“池底捞”等等
各种相似的商标申请注册了遍
(以下只是部分商标申请截图)

via:天眼查官网截图
这波操作
不禁让大大君想起了老干妈
为了保护商标
将“老千妈、老干爹、干妈...”等相似的商标

不过,品牌们申请得再多的商标
还是避免不了“落网之鱼”
像之前雷军为了预防小米被山寨
把“红米”、“黑米”、“ZMI 紫米”
等各种“米”的商标注册了

万万没想到——
自己的名字被“山寨”了!
潍坊瑞驰公司旗下的一款电动车
直接采用 “雷军” 名字
并且车标还运用了和小米相似的商标

这任谁看
都像和小米有关系的吧
所以,最终由法院判定
潍坊瑞驰公司构成不正当竞争
判赔40万元

所以说,出现了这么多
商标侵权以及涉嫌侵权的案件
品牌方们不得不采取措施,重视商标的保护
选择 扩大商标的布局矩阵
不过,像腾讯这样将“常用语句”
申请注册商标
这操作的争议还是蛮大

那么——
最后问题来了
今日话题:
你怎么看腾讯注册“稳住我们能赢”商标?
欢迎留言评论~
本文由广告狂人作者: LOGO大师 发布,其版权均为原作者所有,文章为作者独立观点,不代表 广告狂人 对观点赞同或支持,未经授权,请勿转载,谢谢!
0
-已有0位广告人觉得这个内容很不错-
继续浏览与本文标签相同的文章
扫一扫
关注作者微信公众账号




