Social早报|嘉行关联公司将“迪丽冷巴”注册成商标;LVMH首席数字官跳槽Ledger
狂人编辑部 5年前
收藏 0
0
【摘要】:每天五个营销圈新鲜事~
一、WPP提交了收购WPP AUNZ剩余股份的提案
WPP已向WPP AUNZ Limited(“ WPP AUNZ”)董事会提交了一份提案,以寻求收购WPP AUNZ的剩余股份。WPP目前持有在澳大利亚证券交易所(ASX:WPP)上市的WPP AUNZ约61.5%的股份。
拟议中的收购符合WPP简化结构的全球战略,并将使WPP拥有其澳大利亚和新西兰业务的100%所有权和控制权。
WPP提出的每股现金0.55澳元的提议比2020年11月27日WPP AUNZ的收盘价溢价约34.1%。WPP应付剩余股份的总对价约为1.81亿澳元。
该提议尚未提交给WPP AUNZ股东,并且不确定收购是否会完成。该提案受习惯条件(包括监管部门批准)的约束,如果实施,则有望在2021年完成。

二、LVMH首席数字官跳槽加密数字钱包公司Ledger
据WWD报道,奢侈品品牌LVMH首席数字官Ian Rogers已经在近日跳槽法国初创公司Ledger 。Ledger主营基于硬件的数字钱包,用于存放比特币等加密货币。 Ian Rogers曾在苹果工作,后在2015年跳槽LVMH,负责扩大电子商务业务。

三、虾米音乐明年1月关闭?官方不予置评
有微博用户爆料,虾米音乐将于明年1月关闭。该网友微博认证为“NOVA娱乐主理人,前华纳音乐/环球音乐中国区市场总监”。
随后,有媒体报道称,虾米音乐主编和运营总监目前在北京开会,回去要进行一些人员变动,虾米音乐很可能将要解散。对此,阿里巴巴和虾米音乐方面对媒体的回应,均是“不予置评”。
随着音乐领域版权费用的水涨船高,虾米音乐逐渐丧失优势,月活用户不断下滑。2019年9月,网易宣布旗下网易云音乐获来自阿里巴巴、云锋基金等共计7亿美元的融资。这也被视为虾米音乐在阿里内部被放弃的信号。

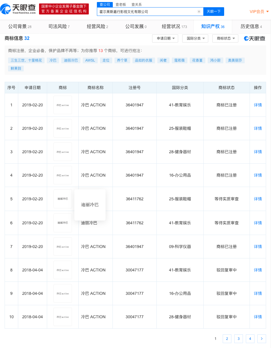
四、嘉行关联公司将“迪丽冷巴”注册成商标
天眼查App显示,霍尔果斯嘉行影视文化有限公司目前已将“迪丽冷巴”“冷巴 ACTION”等申请注册商标,涉及的国际分类包含服装鞋帽、健身器材、教育娱乐、办公用品等,目前商标状态涉及“商标已注册”、“等待实质审查”、“驳回复审中”等。

五、英国将对谷歌脸书实施监管新规
据美国广播公司报道,英国政府将于2021年4月开始,让新成立的数字市场部门对谷歌和脸书等大型科技公司采取新的监管措施,确保消费者、小企业和新闻出版商不会因科技巨头的行为而处于不利地位。在监管新规之下,科技公司须在使用用户数据方面保持公开透明。此外,数字市场部门将有权暂停、阻止和推翻大型科技公司的决策,并采取措施令大型科技公司遵从监管新规。如果科技公司违反新规或不听从数字市场部门的命令,将面临罚款。

本文由广告狂人作者: 狂人编辑部 发布,其版权均为原作者所有,文章为作者独立观点,不代表 广告狂人 对观点赞同或支持,未经授权,请勿转载,谢谢!
0
-已有0位广告人觉得这个内容很不错-
继续浏览与本文标签相同的文章
扫一扫
关注作者微信公众账号




